李工:138-8949-5179 刘工:135-0428-8802
型号查询
轴承型号   常见搜索: 6008轴承 6021轴承 6013轴承 6010轴承 6909轴承 71913轴承
型号查询 X

轴承专区

Bearings Center

RN-3x15.8 BF/G2轴承-SKF RN-3x15.8 BF/G2轴承尺寸、图纸、价格

SKF RN-3x15.8 BF/G2轴承

产品名称:RN-3x15.8 BF/G2轴承 品牌:SKF
类型:SKF轴承 > 滚动轴承 > 滚针轴承
描述:RN-3x15.8 BF/G2轴承是【SKF轴承 > 滚动轴承 > 滚针轴承】的型号,主要用在仪表、离心分离机、汽车发动机、变速器、各类产业用减速机、制铁制钢机械、碾煤机、烟草机械、起重机械、坦克等各大领域

 电话/微信:138-8949-5179

SKF RN-3x15.8 BF/G2轴承详细信息

RN-3x15.8 BF/G2轴承是【SKF轴承 > 滚动轴承 > 滚针轴承】的型号,主要用在仪表、离心分离机、汽车发动机、变速器、各类产业用减速机、制铁制钢机械、碾煤机、烟草机械、起重机械、坦克等各大领域。

SKF RN-3x15.8 BF/G2轴承详细参数

滚针轴承, 滚针
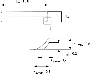
尺寸体积型号
DwLwr1,2r1r2每1000
最小最大最大
mmkg
315,80,20,60,80,88RN-3x15.8 BF/G2

SKF RN-3x15.8 BF/G2轴承尺寸图纸

李工:138-8949-5179

刘工:135-0428-8802

地址:辽宁省大连经济技术开发区现代城3栋-13-13号

在线客服系统