轴承专区
Bearings Center
MB 13轴承-SKF MB 13轴承尺寸、图纸、价格
SKF MB 13轴承
| 产品名称: | MB 13轴承 | 品牌: | SKF |
|---|---|---|---|
| 类型: | SKF轴承 > 滚动轴承 > 轴承附件 | ||
| 描述: | MB 13轴承是【SKF轴承 > 滚动轴承 > 轴承附件】的型号,主要用在仪表、差速器小齿轮轴、中型及大型电动机、小齿轮轴、破碎机、机床主轴、碾煤机、钟表、混凝土机械、钢包回转台等各大领域 | ||
电话/微信:138-8949-5179
SKF MB 13轴承详细信息
MB 13轴承是【SKF轴承 > 滚动轴承 > 轴承附件】的型号,主要用在仪表、差速器小齿轮轴、中型及大型电动机、小齿轮轴、破碎机、机床主轴、碾煤机、钟表、混凝土机械、钢包回转台等各大领域。
SKF MB 13轴承详细参数
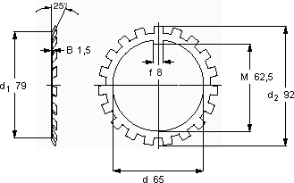
| MB(L)锁定垫圈 | ||||||
| 尺寸 | 体积 | 型号 | ||||
| 锁紧垫圈 | 适宜的锁定螺母 | |||||
| d | d2 | B | ||||
| mm | kg | - | ||||
| 65 | 92 | 1,5 | 0,03 | MB 13 | KM 13 | |
SKF MB 13轴承尺寸图纸

