李工:138-8949-5179 刘工:135-0428-8802
型号查询
轴承型号   常见搜索: 617轴承 6016轴承 6026轴承 nu轴承 6007轴承 2025轴承
型号查询 X

轴承专区

Bearings Center

RN-6x17.8 BF/G2轴承-SKF RN-6x17.8 BF/G2轴承尺寸、图纸、价格

SKF RN-6x17.8 BF/G2轴承

产品名称:RN-6x17.8 BF/G2轴承 品牌:SKF
类型:SKF轴承 > 滚动轴承 > 滚针轴承
描述:RN-6x17.8 BF/G2轴承是【SKF轴承 > 滚动轴承 > 滚针轴承】的型号,主要用在各种产业机械、高频马达、纺织机械传动轴、前轮、轧钢机齿轮箱座、机床等的变速装置、发电厂、烟草机械、工程船舶、冶金起重机等各大领域

 电话/微信:138-8949-5179

SKF RN-6x17.8 BF/G2轴承详细信息

RN-6x17.8 BF/G2轴承是【SKF轴承 > 滚动轴承 > 滚针轴承】的型号,主要用在各种产业机械、高频马达、纺织机械传动轴、前轮、轧钢机齿轮箱座、机床等的变速装置、发电厂、烟草机械、工程船舶、冶金起重机等各大领域。

SKF RN-6x17.8 BF/G2轴承详细参数

滚针轴承, 滚针
尺寸体积型号
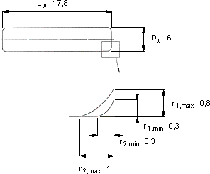
DwLwr1,2r1r2每1000
最小最大最大
mmkg
617,80,30,813,95RN-6x17.8 BF/G2

SKF RN-6x17.8 BF/G2轴承尺寸图纸

李工:138-8949-5179

刘工:135-0428-8802

地址:辽宁省大连经济技术开发区现代城3栋-13-13号

在线客服系统