李工:138-8949-5179 刘工:135-0428-8802
型号查询
轴承型号   常见搜索: 6008轴承 2025轴承 6024轴承 6012轴承 688a轴承 6002轴承
型号查询 X

轴承专区

Bearings Center

RN-3.5x19.8 BF/G2轴承-SKF RN-3.5x19.8 BF/G2轴承尺寸、图纸、价格

SKF RN-3.5x19.8 BF/G2轴承

产品名称:RN-3.5x19.8 BF/G2轴承 品牌:SKF
类型:SKF轴承 > 滚动轴承 > 滚针轴承
描述:RN-3.5x19.8 BF/G2轴承是【SKF轴承 > 滚动轴承 > 滚针轴承】的型号,主要用在后轮、机床主轴、中型及大型电动机、汽车、木工机械、耕耘机、水力发电机、薄膜拉伸、平地机、港口起重机等各大领域

 电话/微信:138-8949-5179

SKF RN-3.5x19.8 BF/G2轴承详细信息

RN-3.5x19.8 BF/G2轴承是【SKF轴承 > 滚动轴承 > 滚针轴承】的型号,主要用在后轮、机床主轴、中型及大型电动机、汽车、木工机械、耕耘机、水力发电机、薄膜拉伸、平地机、港口起重机等各大领域。

SKF RN-3.5x19.8 BF/G2轴承详细参数

滚针轴承, 滚针
尺寸体积型号
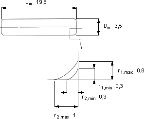
DwLwr1,2r1r2每1000
最小最大最大
mmkg
3,519,80,30,811,5RN-3.5x19.8 BF/G2

SKF RN-3.5x19.8 BF/G2轴承尺寸图纸

李工:138-8949-5179

刘工:135-0428-8802

地址:辽宁省大连经济技术开发区现代城3栋-13-13号

在线客服系统