轴承专区
Bearings Center
MB 18 A轴承-SKF MB 18 A轴承尺寸、图纸、价格
SKF MB 18 A轴承
| 产品名称: | MB 18 A轴承 | 品牌: | SKF |
|---|---|---|---|
| 类型: | SKF轴承 > 滚动轴承 > 轴承附件 | ||
| 描述: | MB 18 A轴承是【SKF轴承 > 滚动轴承 > 轴承附件】的型号,主要用在电气装置部件、小型汽车前轮、木工机械、差速器、振动筛、耕耘机、船舶用螺旋桨轴、陶瓷机械、平地机、伽玛等各大领域 | ||
电话/微信:138-8949-5179
SKF MB 18 A轴承详细信息
MB 18 A轴承是【SKF轴承 > 滚动轴承 > 轴承附件】的型号,主要用在电气装置部件、小型汽车前轮、木工机械、差速器、振动筛、耕耘机、船舶用螺旋桨轴、陶瓷机械、平地机、伽玛等各大领域。
SKF MB 18 A轴承详细参数
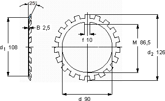
| MB(L)锁定垫圈 | ||||||
| 尺寸 | 体积 | 型号 | ||||
| 锁紧垫圈 | 适宜的锁定螺母 | |||||
| d | d2 | B | ||||
| mm | kg | - | ||||
| 90 | 126 | 2,5 | 0,087 | MB 18 A | KM 18 | |
SKF MB 18 A轴承尺寸图纸

