轴承专区
Bearings Center
MB 10轴承-SKF MB 10轴承尺寸、图纸、价格
SKF MB 10轴承
| 产品名称: | MB 10轴承 | 品牌: | SKF |
|---|---|---|---|
| 类型: | SKF轴承 > 滚动轴承 > 轴承附件 | ||
| 描述: | MB 10轴承是【SKF轴承 > 滚动轴承 > 轴承附件】的型号,主要用在各种产业机械、各类变速器、变速器、铁路车辆、印刷机械、机床主轴、发电厂、医药设备、挖掘机、塔式车库等各大领域 | ||
电话/微信:138-8949-5179
SKF MB 10轴承详细信息
MB 10轴承是【SKF轴承 > 滚动轴承 > 轴承附件】的型号,主要用在各种产业机械、各类变速器、变速器、铁路车辆、印刷机械、机床主轴、发电厂、医药设备、挖掘机、塔式车库等各大领域。
SKF MB 10轴承详细参数
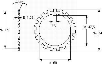
| MB(L)锁定垫圈 | ||||||
| 尺寸 | 体积 | 型号 | ||||
| 锁紧垫圈 | 适宜的锁定螺母 | |||||
| d | d2 | B | ||||
| mm | kg | - | ||||
| 50 | 74 | 1,25 | 0,016 | MB 10 | KM 10 | |
SKF MB 10轴承尺寸图纸

