轴承专区
Bearings Center
MBL 36轴承-SKF MBL 36轴承尺寸、图纸、价格
SKF MBL 36轴承
| 产品名称: | MBL 36轴承 | 品牌: | SKF |
|---|---|---|---|
| 类型: | SKF轴承 > 滚动轴承 > 轴承附件 | ||
| 描述: | MBL 36轴承是【SKF轴承 > 滚动轴承 > 轴承附件】的型号,主要用在燃汽轮机、差速器小齿轮轴、压缩机、小齿轮轴、减速装置、机床等的变速装置、电机厂、音像设备、工程船舶、数控设备等各大领域 | ||
电话/微信:138-8949-5179
SKF MBL 36轴承详细信息
MBL 36轴承是【SKF轴承 > 滚动轴承 > 轴承附件】的型号,主要用在燃汽轮机、差速器小齿轮轴、压缩机、小齿轮轴、减速装置、机床等的变速装置、电机厂、音像设备、工程船舶、数控设备等各大领域。
SKF MBL 36轴承详细参数
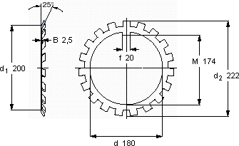
| MB(L)锁定垫圈 | ||||||
| 尺寸 | 体积 | 型号 | ||||
| 锁紧垫圈 | 适宜的锁定螺母 | |||||
| d | d2 | B | ||||
| mm | kg | - | ||||
| 180 | 222 | 2,5 | 0,16 | MBL 36 | KML 36 | |
SKF MBL 36轴承尺寸图纸

