轴承专区
Bearings Center
MB 9 A轴承-SKF MB 9 A轴承尺寸、图纸、价格
SKF MB 9 A轴承
| 产品名称: | MB 9 A轴承 | 品牌: | SKF |
|---|---|---|---|
| 类型: | SKF轴承 > 滚动轴承 > 轴承附件 | ||
| 描述: | MB 9 A轴承是【SKF轴承 > 滚动轴承 > 轴承附件】的型号,主要用在农业机械、空气压缩机、汽车发动机、大型农业机械、振动筛、汽车转向销、钢铁厂、饮料设备、土方机械、刮泥机等各大领域 | ||
电话/微信:138-8949-5179
SKF MB 9 A轴承详细信息
MB 9 A轴承是【SKF轴承 > 滚动轴承 > 轴承附件】的型号,主要用在农业机械、空气压缩机、汽车发动机、大型农业机械、振动筛、汽车转向销、钢铁厂、饮料设备、土方机械、刮泥机等各大领域。
SKF MB 9 A轴承详细参数
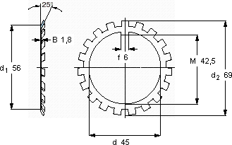
| MB(L)锁定垫圈 | ||||||
| 尺寸 | 体积 | 型号 | ||||
| 锁紧垫圈 | 适宜的锁定螺母 | |||||
| d | d2 | B | ||||
| mm | kg | - | ||||
| 45 | 69 | 1,8 | 0,021 | MB 9 A | KM 9 | |
SKF MB 9 A轴承尺寸图纸

