轴承专区
Bearings Center
RMWE7-RB-95x..-18轴承-INA RMWE7-RB-95x..-18轴承尺寸、图纸、价格
INA RMWE7-RB-95x..-18轴承
| 产品名称: | RMWE7-RB-95x..-18轴承 | 品牌: | INA |
|---|---|---|---|
| 类型: | INA轴承 > 微型保持架引导系统 | ||
| 描述: | RMWE7-RB-95x..-18轴承是【INA轴承 > 微型保持架引导系统】的型号,主要用在变速器、罗茨鼓风机、木工机械、建筑机械、各类产业用减速机、制铁制钢机械、立式电动机、医药设备、起重机械、正面吊等各大领域 | ||
电话/微信:138-8949-5179
INA RMWE7-RB-95x..-18轴承详细信息
RMWE7-RB-95x..-18轴承是【INA轴承 > 微型保持架引导系统】的型号,主要用在变速器、罗茨鼓风机、木工机械、建筑机械、各类产业用减速机、制铁制钢机械、立式电动机、医药设备、起重机械、正面吊等各大领域。
INA RMWE7-RB-95x..-18轴承详细参数
| 参数 | 值 | 备注 |
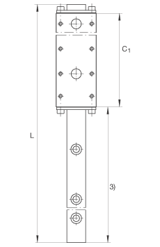
| C1 | 95 mm | |
| hx | 18 mm | 行程 |
| H | 8 mm | |
| 1) | 定位面 | |
| 2) | 标记 | |
| 3) | 行程 | |
| A | 17 mm | |
| A1 | 5 mm | |
| A2 | 12 mm | |
| a | 7 mm | 公差: -0,005 / -0,05 |
| a3 | 2,5 mm | |
| C1 max | 200 mm | 滑块的最大生产长度 |
| C2 | 8 mm | |
| C4 | 15 mm | |
| C5 | 7 mm | |
| C6 | 7 mm | |
| C7 | 3,5 mm | |
| C8 | 3 mm | |
| C9 | 16 mm | |
| H1 | 1,5 mm | |
| H5 | 2,5 mm | |
| h | 4,9 mm | |
| h1 | 1,7 mm | |
| K1 | M2 mm | 根据 DIN 912-12.9 的螺钉;最大锁紧力矩:0.6 Nm根据 DIN 912-12.9 的螺钉,耐腐蚀设计;最大锁紧力矩:0.2 Nm注意:不锈钢仍可进行表面防腐处理,以及不同形式的局部处理。如果耐腐蚀程度要求较高,则必须提供针对特殊应用的合适单元。 |
| K2 | M2 mm | 根据 DIN 912-12.9 的螺钉;最大锁紧力矩:0.6 Nm根据 DIN 912-12.9 的螺钉,耐腐蚀设计;最大锁紧力矩:0.2 Nm注意:不锈钢仍可进行表面防腐处理,以及不同形式的局部处理。如果耐腐蚀程度要求较高,则必须提供针对特殊应用的合适单元。 |
| L | 标准导轨长度:L = 44 mm,m S = 9 gL = 89 mm,m S = 19 gL = 104 mm,m S = 23 gL = 119 mm,m S = 26 gL = 134 mm,m S = 30 gL = 164 mm,m S = 35 gL = 209 mm,m S = 44 g通过协商,也提供特殊长度。 | |
| Lk | 84,9 mm | 保持架的长度。通过协商,也提供特殊长度。 |
| Lmax | 250 mm | 导轨的最大生产长度。通过协商,也提供特殊长度。 |
| mW | 51 g | 滑块的质量 |
| mS | 导轨的质量:L = 44 mm,m S = 9 gL = 89 mm,m S = 19 gL = 104 mm,m S = 23 gL = 119 mm,m S = 26 gL = 134 mm,m S = 30 gL = 164 mm,m S = 35 gL = 209 mm,m S = 44 g通过协商,也提供特殊长度。 | |
| C | 4300 N | 基本额定载荷 |
| C0 | 8700 N | 基本额定载荷 |
| M0x | 28 Nm | 额定扭矩 |
| M0y | 128 Nm | 额定扭矩 |
| M0z | 128 Nm | 额定扭矩 |
| 注意:不锈钢仍可进行表面防腐处理,以及不同形式的局部处理。如果耐腐蚀程度较高,必须提供针对特殊应用的合适单元。 |
INA RMWE7-RB-95x..-18轴承尺寸图纸

