轴承专区
Bearings Center
MVZ5025轴承-INA MVZ5025轴承尺寸、图纸、价格
INA MVZ5025轴承
| 产品名称: | MVZ5025轴承 | 品牌: | INA |
|---|---|---|---|
| 类型: | INA轴承 > 导轨 | ||
| 描述: | MVZ5025轴承是【INA轴承 > 导轨】的型号,主要用在家用电器、燃汽轮机、发电机、后轮、造纸机械、起重机吊钩、塔吊、啤酒、专用车、雷达等各大领域 | ||
电话/微信:138-8949-5179
INA MVZ5025轴承详细信息
MVZ5025轴承是【INA轴承 > 导轨】的型号,主要用在家用电器、燃汽轮机、发电机、后轮、造纸机械、起重机吊钩、塔吊、啤酒、专用车、雷达等各大领域。
INA MVZ5025轴承详细参数
| 参数 | 值 | 备注 |
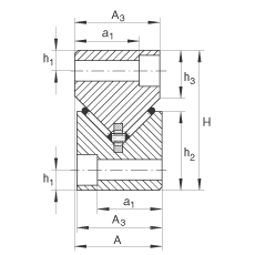
| H | 50 mm | 公差: -0,2 |
| A | 25 mm | |
| Lmax | 1300 mm | |
| 37) | 用于刮削器的孔,终端件 | |
| 38) | 孔的类型15 | |
| 39) | 孔的类型10 | |
| 4) | 标记 | |
| 40) | 孔的类型03 | |
| A3 | 25 mm | |
| a1 | 18,2 mm | |
| amin | 1,3 x 45° | |
| C4 | 80 mm | |
| C5 min | 20 mm | |
| C6 min | 20 mm | |
| h1 | 10 mm | |
| h2 | 28 mm | |
| h3 | 17 mm | |
| K1 | M6 | |
| K3 | M6 | |
| tmin | 15 mm | |
| 带密封条设计 |
INA MVZ5025轴承尺寸图纸

