轴承专区
Bearings Center
HCB7201-E-T-P4S轴承-FAG HCB7201-E-T-P4S轴承尺寸、图纸、价格
FAG HCB7201-E-T-P4S轴承
| 产品名称: | HCB7201-E-T-P4S轴承 | 品牌: | FAG |
|---|---|---|---|
| 类型: | FAG轴承 > 主轴轴承 | ||
| 描述: | HCB7201-E-T-P4S轴承是【FAG轴承 > 主轴轴承】的型号,主要用在铁路车辆、小型汽车前轮、汽车发动机、差速器、轧钢机辊道子、汽车转向销、冶炼厂、音像设备、掘进机、正面吊等各大领域 | ||
电话/微信:138-8949-5179
FAG HCB7201-E-T-P4S轴承详细信息
HCB7201-E-T-P4S轴承是【FAG轴承 > 主轴轴承】的型号,主要用在铁路车辆、小型汽车前轮、汽车发动机、差速器、轧钢机辊道子、汽车转向销、冶炼厂、音像设备、掘进机、正面吊等各大领域。
FAG HCB7201-E-T-P4S轴承详细参数
| 参数 | 值 | 备注 |
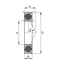
| d | 12 mm | |
| D | 32 mm | |
| B | 10 mm | |
| a | 10 mm | |
| Da H12 | 27,5 mm | |
| da h12 | 16,5 mm | |
| r1 min | 0,6 mm | |
| ra max | 0,6 mm | |
| ra1 max | 0,6 mm | |
| rmin | 0,6 mm | |
| m | 0,032 kg | 质量 |
| Cr | 8800 N | 基本额定动载荷,径向 |
| C0r | 2600 N | 基本额定静载荷,径向 |
| nG Fett | 53000 1/min | 脂润滑时的极限转速 |
| nG Öl | 80000 1/min | 最少油润滑时的极限转速 |
| Cur | 275 N | 疲劳极限载荷,径向 |
FAG HCB7201-E-T-P4S轴承尺寸图纸

