轴承专区
Bearings Center
B7016-E-T-P4S轴承-FAG B7016-E-T-P4S轴承尺寸、图纸、价格
FAG B7016-E-T-P4S轴承
| 产品名称: | B7016-E-T-P4S轴承 | 品牌: | FAG |
|---|---|---|---|
| 类型: | FAG轴承 > 主轴轴承 | ||
| 描述: | B7016-E-T-P4S轴承是【FAG轴承 > 主轴轴承】的型号,主要用在装卸搬运机械、差速器小齿轮轴、提升机、小齿轮轴、轧钢机齿轮箱座、机床主轴、矿山、破碎、挖掘机、风力发电设备等各大领域 | ||
电话/微信:138-8949-5179
FAG B7016-E-T-P4S轴承详细信息
B7016-E-T-P4S轴承是【FAG轴承 > 主轴轴承】的型号,主要用在装卸搬运机械、差速器小齿轮轴、提升机、小齿轮轴、轧钢机齿轮箱座、机床主轴、矿山、破碎、挖掘机、风力发电设备等各大领域。
FAG B7016-E-T-P4S轴承详细参数
| 参数 | 值 | 备注 |
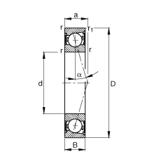
| d | 80 mm | |
| D | 125 mm | |
| B | 22 mm | |
| a | 35 mm | |
| Da H12 | 117 mm | |
| da h12 | 88 mm | |
| r1 min | 1,1 mm | |
| ra max | 1 mm | |
| ra1 max | 0,6 mm | |
| rmin | 1,1 mm | |
| m | 0,833 kg | 质量 |
| Cr | 60000 N | 基本额定动载荷,径向 |
| C0r | 55000 N | 基本额定静载荷,径向 |
| nG Fett | 9500 1/min | 脂润滑时的极限转速 |
| nG Öl | 16000 1/min | 最少油润滑时的极限转速 |
| Cur | 3950 N | 疲劳极限载荷,径向 |
FAG B7016-E-T-P4S轴承尺寸图纸

