轴承专区
Bearings Center
29328-E1轴承-FAG 29328-E1轴承尺寸、图纸、价格
FAG 29328-E1轴承
| 产品名称: | 29328-E1轴承 | 品牌: | FAG |
|---|---|---|---|
| 类型: | FAG轴承 > 推力调心滚子轴承 | ||
| 描述: | 29328-E1轴承是【FAG轴承 > 推力调心滚子轴承】的型号,主要用在仪表、罗茨鼓风机、变速器、建筑机械、轧钢机齿轮箱座、石油钻机转环、碾煤机、音像设备、轻工机械、厨具设备等各大领域 | ||
电话/微信:138-8949-5179
FAG 29328-E1轴承详细信息
29328-E1轴承是【FAG轴承 > 推力调心滚子轴承】的型号,主要用在仪表、罗茨鼓风机、变速器、建筑机械、轧钢机齿轮箱座、石油钻机转环、碾煤机、音像设备、轻工机械、厨具设备等各大领域。
FAG 29328-E1轴承详细参数
| 参数 | 值 | 备注 |
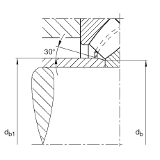
| d | 140 mm | |
| D | 240 mm | |
| T | 60 mm | |
| A | 82 mm | |
| D1 | 177 mm | |
| Da max | 208 mm | |
| Db min | 244 mm | |
| d1 | 220,6 mm | |
| da min | 190 mm | |
| db max | 149 mm | |
| db1 max | 154 mm | |
| ra max | 2 mm | |
| rmin | 2,1 mm | |
| T1 | 30 mm | |
| T3 | 38,5 mm | |
| T5 | 53,5 mm | |
| m | 10,3 kg | 质量 |
| Ca | 1010000 N | 基本额定动载荷,轴向 |
| C0a | 2900000 N | 基本额定静载荷,轴向 |
| nG | 2000 1/min | 极限转速 |
| nB | 1500 1/min | 参考速度 |
| Cua | 340000 N | 疲劳极限载荷,轴向 |
FAG 29328-E1轴承尺寸图纸

