李工:138-8949-5179 刘工:135-0428-8802
型号查询
轴承型号   常见搜索: 6015轴承 6026轴承 6010轴承 6304轴承 6018轴承 2026轴承
型号查询 X

轴承专区

Bearings Center

RN-3.5x13.8 BF/G2轴承-SKF RN-3.5x13.8 BF/G2轴承尺寸、图纸、价格

SKF RN-3.5x13.8 BF/G2轴承

产品名称:RN-3.5x13.8 BF/G2轴承 品牌:SKF
类型:SKF轴承 > 滚动轴承 > 滚针轴承
描述:RN-3.5x13.8 BF/G2轴承是【SKF轴承 > 滚动轴承 > 滚针轴承】的型号,主要用在各种产业机械、各类变速器、压缩机、铁路车辆、破碎机、机床主轴、发电厂、精细化工机械、挖掘机、塔式车库等各大领域

 电话/微信:138-8949-5179

SKF RN-3.5x13.8 BF/G2轴承详细信息

RN-3.5x13.8 BF/G2轴承是【SKF轴承 > 滚动轴承 > 滚针轴承】的型号,主要用在各种产业机械、各类变速器、压缩机、铁路车辆、破碎机、机床主轴、发电厂、精细化工机械、挖掘机、塔式车库等各大领域。

SKF RN-3.5x13.8 BF/G2轴承详细参数

滚针轴承, 滚针
尺寸体积型号
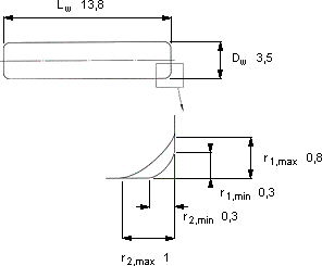
DwLwr1,2r1r2每1000
最小最大最大
mmkg
3,513,80,30,811,04RN-3.5x13.8 BF/G2

SKF RN-3.5x13.8 BF/G2轴承尺寸图纸

李工:138-8949-5179

刘工:135-0428-8802

地址:辽宁省大连经济技术开发区现代城3栋-13-13号

在线客服系统