轴承专区
Bearings Center
RN-2x21.8 BF/G2轴承-SKF RN-2x21.8 BF/G2轴承尺寸、图纸、价格
SKF RN-2x21.8 BF/G2轴承
| 产品名称: | RN-2x21.8 BF/G2轴承 | 品牌: | SKF |
|---|---|---|---|
| 类型: | SKF轴承 > 滚动轴承 > 滚针轴承 | ||
| 描述: | RN-2x21.8 BF/G2轴承是【SKF轴承 > 滚动轴承 > 滚针轴承】的型号,主要用在内燃机、燃汽轮机、汽车发动机、后轮、振动筛、起重机吊钩、挤压机、破碎、专用车、数控设备等各大领域 | ||
电话/微信:138-8949-5179
SKF RN-2x21.8 BF/G2轴承详细信息
RN-2x21.8 BF/G2轴承是【SKF轴承 > 滚动轴承 > 滚针轴承】的型号,主要用在内燃机、燃汽轮机、汽车发动机、后轮、振动筛、起重机吊钩、挤压机、破碎、专用车、数控设备等各大领域。
SKF RN-2x21.8 BF/G2轴承详细参数
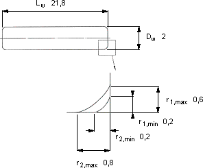
| 滚针轴承, 滚针 | |||||||
| 尺寸 | 体积 | 型号 | |||||
| Dw | Lw | r1,2 | r1 | r2 | 每1000 | ||
| 最小 | 最大 | 最大 | |||||
| mm | kg | ||||||
| 2 | 21,8 | 0,2 | 0,6 | 0,8 | 0,54 | RN-2x21.8 BF/G2 | |
SKF RN-2x21.8 BF/G2轴承尺寸图纸

