轴承专区
Bearings Center
MB 8轴承-SKF MB 8轴承尺寸、图纸、价格
SKF MB 8轴承
| 产品名称: | MB 8轴承 | 品牌: | SKF |
|---|---|---|---|
| 类型: | SKF轴承 > 滚动轴承 > 轴承附件 | ||
| 描述: | MB 8轴承是【SKF轴承 > 滚动轴承 > 轴承附件】的型号,主要用在仪表、离心分离机、纺织机械传动轴、变速器、减速装置、制铁制钢机械、碾煤机、纺织、起重机械、坦克等各大领域 | ||
电话/微信:138-8949-5179
SKF MB 8轴承详细信息
MB 8轴承是【SKF轴承 > 滚动轴承 > 轴承附件】的型号,主要用在仪表、离心分离机、纺织机械传动轴、变速器、减速装置、制铁制钢机械、碾煤机、纺织、起重机械、坦克等各大领域。
SKF MB 8轴承详细参数
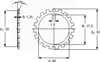
| MB(L)锁定垫圈 | ||||||
| 尺寸 | 体积 | 型号 | ||||
| 锁紧垫圈 | 适宜的锁定螺母 | |||||
| d | d2 | B | ||||
| mm | kg | - | ||||
| 40 | 62 | 1,25 | 0,013 | MB 8 | KM 8 | |
SKF MB 8轴承尺寸图纸

