轴承专区
Bearings Center
MB 12轴承-SKF MB 12轴承尺寸、图纸、价格
SKF MB 12轴承
| 产品名称: | MB 12轴承 | 品牌: | SKF |
|---|---|---|---|
| 类型: | SKF轴承 > 滚动轴承 > 轴承附件 | ||
| 描述: | MB 12轴承是【SKF轴承 > 滚动轴承 > 轴承附件】的型号,主要用在通用电动机、离心分离机、木工机械、变速器、轧钢机齿轮箱座、石油钻机转环、轧钢机轧制螺杆用减速机、薄膜拉伸、凿岩机械、太阳能发电设备等各大领域 | ||
电话/微信:138-8949-5179
SKF MB 12轴承详细信息
MB 12轴承是【SKF轴承 > 滚动轴承 > 轴承附件】的型号,主要用在通用电动机、离心分离机、木工机械、变速器、轧钢机齿轮箱座、石油钻机转环、轧钢机轧制螺杆用减速机、薄膜拉伸、凿岩机械、太阳能发电设备等各大领域。
SKF MB 12轴承详细参数
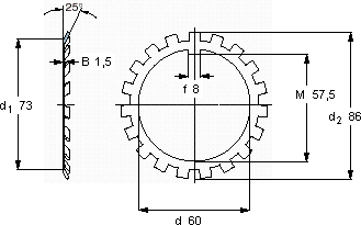
| MB(L)锁定垫圈 | ||||||
| 尺寸 | 体积 | 型号 | ||||
| 锁紧垫圈 | 适宜的锁定螺母 | |||||
| d | d2 | B | ||||
| mm | kg | - | ||||
| 60 | 86 | 1,5 | 0,024 | MB 12 | KM 12 | |
SKF MB 12轴承尺寸图纸

