李工:138-8949-5179 刘工:135-0428-8802
型号查询
轴承型号   常见搜索: 6030轴承 6003轴承 6006轴承 6010轴承 6032轴承 23136轴承
型号查询 X

轴承专区

Bearings Center

MB 0轴承-SKF MB 0轴承尺寸、图纸、价格

SKF MB 0轴承

产品名称:MB 0轴承 品牌:SKF
类型:SKF轴承 > 滚动轴承 > 轴承附件
描述:MB 0轴承是【SKF轴承 > 滚动轴承 > 轴承附件】的型号,主要用在变速器、各类变速器、挖土机履带轮、铁路车辆、轧钢机齿轮箱座、机床主轴、立式电动机、音像设备、混凝土机械、机械手等各大领域

 电话/微信:138-8949-5179

SKF MB 0轴承详细信息

MB 0轴承是【SKF轴承 > 滚动轴承 > 轴承附件】的型号,主要用在变速器、各类变速器、挖土机履带轮、铁路车辆、轧钢机齿轮箱座、机床主轴、立式电动机、音像设备、混凝土机械、机械手等各大领域。

SKF MB 0轴承详细参数

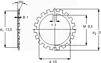
MB(L)锁定垫圈
尺寸体积型号
锁紧垫圈适宜的锁定螺母
dd2B
mmkg-
102110,001MB 0KM 0

SKF MB 0轴承尺寸图纸

李工:138-8949-5179

刘工:135-0428-8802

地址:辽宁省大连经济技术开发区现代城3栋-13-13号

在线客服系统