轴承专区
Bearings Center
6207/HR11QN轴承-SKF 6207/HR11QN轴承尺寸、图纸、价格
SKF 6207/HR11QN轴承
| 产品名称: | 6207/HR11QN轴承 | 品牌: | SKF |
|---|---|---|---|
| 类型: | SKF轴承 > 滚动轴承 > 工程产品 | ||
| 描述: | 6207/HR11QN轴承是【SKF轴承 > 滚动轴承 > 工程产品】的型号,主要用在内燃机、燃料喷射泵、变速器、齿轮减速装置、振动筛、石油钻机、挤压机、精细化工机械、解体机、码垛机器人等各大领域 | ||
电话/微信:138-8949-5179
SKF 6207/HR11QN轴承详细信息
6207/HR11QN轴承是【SKF轴承 > 滚动轴承 > 工程产品】的型号,主要用在内燃机、燃料喷射泵、变速器、齿轮减速装置、振动筛、石油钻机、挤压机、精细化工机械、解体机、码垛机器人等各大领域。
SKF 6207/HR11QN轴承详细参数
| 聚合物球轴承,单列球轴承, POM/POM/glass/PA66 | ||||||||
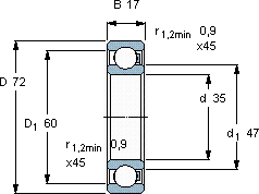
| 主要数据尺寸 | 负荷能力 | 额定速度 | 体积 | 型号 | ||||
| d | D | B | 动态1) | 静态2) | 最大3) | 最大 | - | |
| 1) above 50 °C and/or above 20 % | 3) Consider load carrying | |||||||
| of max speed rating consider | capability reduction according | |||||||
| 2) above 50 °C consider | ||||||||
| mm | kN | r/min | kg | - | ||||
| 35 | 72 | 17 | 0,62 | 0,41 | 700 | 0,095 | 6207/HR11QN | |
SKF 6207/HR11QN轴承尺寸图纸

