轴承专区
Bearings Center
UFA3210轴承-INA UFA3210轴承尺寸、图纸、价格
INA UFA3210轴承
| 产品名称: | UFA3210轴承 | 品牌: | INA |
|---|---|---|---|
| 类型: | INA轴承 > 导轨 | ||
| 描述: | UFA3210轴承是【INA轴承 > 导轨】的型号,主要用在家用电器、燃汽轮机、压缩机、后轮、振动筛、石油钻机、塔吊、破碎、给料机械、雷达等各大领域 | ||
电话/微信:138-8949-5179
INA UFA3210轴承详细信息
UFA3210轴承是【INA轴承 > 导轨】的型号,主要用在家用电器、燃汽轮机、压缩机、后轮、振动筛、石油钻机、塔吊、破碎、给料机械、雷达等各大领域。
INA UFA3210轴承详细参数
| 参数 | 值 | 备注 |
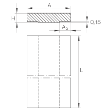
| A | 32 mm | 公差: -0,1 |
| H | 10 mm | 公差: -0,1 |
| L | 2000 mm | 最大L = 标准长度; 适用于从400mm逐渐递增到 L max的单根导轨。中间导轨的长度可可通过协商定制。长于 Lmax 的导轨可由多根标准导轨组合供货。多根导轨的孔的布置方式在越过联;接处仍然是有规律的。 |
| A3 | 8 mm |
INA UFA3210轴承尺寸图纸

