李工:138-8949-5179 刘工:135-0428-8802
型号查询
轴承型号   常见搜索: 6022轴承 6003轴承 6021轴承 6017轴承 6001轴承 2026轴承
型号查询 X

轴承专区

Bearings Center

RMWE9A-RB-99x..-12轴承-INA RMWE9A-RB-99x..-12轴承尺寸、图纸、价格

INA RMWE9A-RB-99x..-12轴承

产品名称:RMWE9A-RB-99x..-12轴承 品牌:INA
类型:INA轴承 > 微型保持架引导系统
描述: RMWE9A-RB-99x..-12轴承是【INA轴承 > 微型保持架引导系统】的型号,主要用在农业机械、油泵、提升机、机床主轴、铁路车辆车轴、石油钻机、钢铁厂、薄膜拉伸、解体机、太阳能发电设备等各大领域

 电话/微信:138-8949-5179

INA RMWE9A-RB-99x..-12轴承详细信息

RMWE9A-RB-99x..-12轴承是【INA轴承 > 微型保持架引导系统】的型号,主要用在农业机械、油泵、提升机、机床主轴、铁路车辆车轴、石油钻机、钢铁厂、薄膜拉伸、解体机、太阳能发电设备等各大领域。

INA RMWE9A-RB-99x..-12轴承详细参数

参数备注
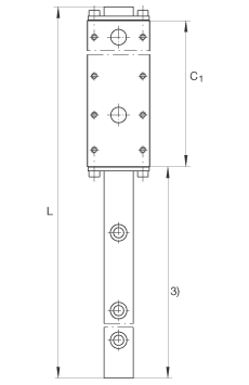
C199 mm
hx12 mm行程
H10 mm
1)定位面
2)标记
3)行程
A20 mm
A15,5 mm
A215 mm
a9 mm公差: -0,005 / -0,05
a32,5 mm
C1 max300 mm滑块的最大生产长度
C210 mm
C420 mm
C59,5 mm
C69,5 mm
C74,5 mm
C83,5 mm
C920 mm
H11,95 mm
H53 mm
h6,2 mm
h12,6 mm
K1M3 mm根据 DIN 912-12.9 的螺钉;最大锁紧力矩:2.2 Nm根据 DIN 912-12.9 的螺钉,耐腐蚀设计;最大锁紧力矩:1 Nm注意:不锈钢仍可进行表面防腐处理,以及不同形式的局部处理。如果耐腐蚀程度要求较高,则必须提供针对特殊应用的合适单元。
K2M3 mm根据 DIN 912-12.9 的螺钉;最大锁紧力矩:2.2 Nm根据 DIN 912-12.9 的螺钉,耐腐蚀设计;最大锁紧力矩:1 Nm注意:不锈钢仍可进行表面防腐处理,以及不同形式的局部处理。如果耐腐蚀程度要求较高,则必须提供针对特殊应用的合适单元。
L标准导轨长度:L = 59 mm,m S = 21 gL = 99 mm,m S = 36 gL = 159 mm,m S = 58 gL = 199 mm,m S = 72 gL = 219 mm,m S = 80 gL = 299 mm,m S = 108 g通过协商,也提供特殊长度。
Lk91,9 mm保持架的长度。通过协商,也提供特殊长度。
Lmax360 mm导轨的最大生产长度。通过协商,也提供特殊长度。
mW75 g滑块的质量
mS导轨的质量:L = 59 mm,m S = 21 gL = 99 mm,m S = 36 gL = 159 mm,m S = 58 gL = 199 mm,m S = 72 gL = 219 mm,m S = 80 gL = 299 mm,m S = 108 g通过协商,也提供特殊长度。
C7500 N基本额定载荷
C015200 N基本额定载荷
M0x58 Nm额定扭矩
M0y242 Nm额定扭矩
M0z242 Nm额定扭矩
注意:不锈钢仍可进行表面防腐处理,以及不同形式的局部处理。如果耐腐蚀程度较高,必须提供针对特殊应用的合适单元。

INA RMWE9A-RB-99x..-12轴承尺寸图纸

李工:138-8949-5179

刘工:135-0428-8802

地址:辽宁省大连经济技术开发区现代城3栋-13-13号

在线客服系统