轴承专区
Bearings Center
RMWE15-RB-79x..-56轴承-INA RMWE15-RB-79x..-56轴承尺寸、图纸、价格
INA RMWE15-RB-79x..-56轴承
| 产品名称: | RMWE15-RB-79x..-56轴承 | 品牌: | INA |
|---|---|---|---|
| 类型: | INA轴承 > 微型保持架引导系统 | ||
| 描述: | RMWE15-RB-79x..-56轴承是【INA轴承 > 微型保持架引导系统】的型号,主要用在通用电动机、罗茨鼓风机、纺织机械传动轴、建筑机械、印刷机械、石油钻机转环、轧钢机轧制螺杆用减速机、化纤机械、轻工机械、机场加油机等各大领域 | ||
电话/微信:138-8949-5179
INA RMWE15-RB-79x..-56轴承详细信息
RMWE15-RB-79x..-56轴承是【INA轴承 > 微型保持架引导系统】的型号,主要用在通用电动机、罗茨鼓风机、纺织机械传动轴、建筑机械、印刷机械、石油钻机转环、轧钢机轧制螺杆用减速机、化纤机械、轻工机械、机场加油机等各大领域。
INA RMWE15-RB-79x..-56轴承详细参数
| 参数 | 值 | 备注 |
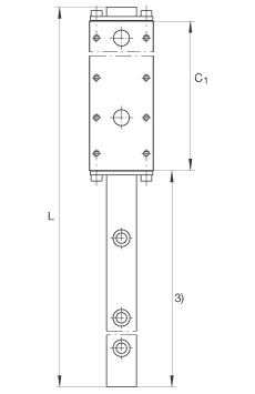
| C1 | 79 mm | |
| hx | 56 mm | 行程 |
| H | 16 mm | |
| 1) | 定位面 | |
| 2) | 标记 | |
| 3) | 行程 | |
| A | 32 mm | |
| A1 | 8,5 mm | |
| A2 | 25 mm | |
| a | 15 mm | 公差: -0,005 / -0,05 |
| a3 | 3,5 mm | |
| C1 max | 300 mm | 滑块的最大生产长度 |
| C2 | 20 mm | |
| C4 | 40 mm | |
| C5 | 19,5 mm | |
| C6 | 19,5 mm | |
| C7 | 9,5 mm | |
| C8 | 5 mm | |
| C9 | 40 mm | |
| H1 | 3,75 mm | |
| H5 | 4 mm | |
| h | 11,7 mm | |
| h1 | 4,7 mm | |
| K1 | M4 mm | 根据 DIN 912-12.9的螺钉:最大锁紧力矩:5 Nm根据 DIN 912-12.9的螺钉,耐腐蚀设计;最大锁紧力矩:1.7 Nm注意:不锈钢仍可进行表面防腐处理,以及不同形式的局部处理。如果耐腐蚀程度要求较高,则必须提供针对特殊应用的合适单元。为与标准单元互换,应使用支撑垫圈和相对较小的螺钉 |
| K2 | M3 mm | 根据 DIN 912-12.9 的螺钉;最大锁紧力矩:2.2 Nm根据 DIN 912-12.9 的螺钉,耐腐蚀设计;最大锁紧力矩:1 Nm注意:不锈钢仍可进行表面防腐处理,以及不同形式的局部处理。如果耐腐蚀程度要求较高,则必须提供针对特殊应用的合适单元。 |
| L | 标准导轨长度:L = 79 mm,m S = 92 gL = 119 mm,m S = 138 gL = 159 mm,m S = 185 gL = 199 mm,m S = 234 gL = 239 mm,m S = 280 gL = 359 mm,m S = 422 g通过协商,也提供特殊长度。 | |
| Lk | 49,9 mm | 保持架的长度。通过协商,也提供特殊长度。 |
| Lmax | 360 mm | 导轨的最大生产长度。通过协商,也提供特殊长度。 |
| mW | 40 g | 滑块的质量 |
| mS | 导轨的质量:L = 79 mm,m S = 92 gL = 119 mm,m S = 138 gL = 159 mm,m S = 185 gL = 199 mm,m S = 234 gL = 239 mm,m S = 280 gL = 359 mm,m S = 422 g通过协商,也提供特殊长度。 | |
| C | 7900 N | 基本额定载荷 |
| C0 | 16400 N | 基本额定载荷 |
| M0x | 138 Nm | 额定扭矩 |
| M0y | 139 Nm | 额定扭矩 |
| M0z | 139 Nm | 额定扭矩 |
| 注意:不锈钢仍可进行表面防腐处理,以及不同形式的局部处理。如果耐腐蚀程度较高,必须提供针对特殊应用的合适单元。 | ||
| 圆柱滚子 O 型布置为标准通过协商,X 型布置是可用的 |
INA RMWE15-RB-79x..-56轴承尺寸图纸

