李工:138-8949-5179 刘工:135-0428-8802
型号查询
轴承型号   常见搜索: 6026轴承 6014轴承 6018轴承 6019轴承 6017轴承 6016轴承
型号查询 X

轴承专区

Bearings Center

RMWE15-RB-159x..-62轴承-INA RMWE15-RB-159x..-62轴承尺寸、图纸、价格

INA RMWE15-RB-159x..-62轴承

产品名称:RMWE15-RB-159x..-62轴承 品牌:INA
类型:INA轴承 > 微型保持架引导系统
描述: RMWE15-RB-159x..-62轴承是【INA轴承 > 微型保持架引导系统】的型号,主要用在变速器、离心分离机、桥式起重机、变速器、减速装置、石油钻机转环、立式电动机、薄膜拉伸、轻工机械、机械手等各大领域

 电话/微信:138-8949-5179

INA RMWE15-RB-159x..-62轴承详细信息

RMWE15-RB-159x..-62轴承是【INA轴承 > 微型保持架引导系统】的型号,主要用在变速器、离心分离机、桥式起重机、变速器、减速装置、石油钻机转环、立式电动机、薄膜拉伸、轻工机械、机械手等各大领域。

INA RMWE15-RB-159x..-62轴承详细参数

参数备注
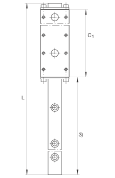
C1159 mm
hx62 mm行程
H16 mm
1)定位面
2)标记
3)行程
A32 mm
A18,5 mm
A225 mm
a15 mm公差: -0,005 / -0,05
a33,5 mm
C1 max300 mm滑块的最大生产长度
C220 mm
C440 mm
C519,5 mm
C619,5 mm
C79,5 mm
C85 mm
C940 mm
H13,75 mm
H54 mm
h11,7 mm
h14,7 mm
K1M4 mm根据 DIN 912-12.9的螺钉:最大锁紧力矩:5 Nm根据 DIN 912-12.9的螺钉,耐腐蚀设计;最大锁紧力矩:1.7 Nm注意:不锈钢仍可进行表面防腐处理,以及不同形式的局部处理。如果耐腐蚀程度要求较高,则必须提供针对特殊应用的合适单元。为与标准单元互换,应使用支撑垫圈和相对较小的螺钉
K2M3 mm根据 DIN 912-12.9 的螺钉;最大锁紧力矩:2.2 Nm根据 DIN 912-12.9 的螺钉,耐腐蚀设计;最大锁紧力矩:1 Nm注意:不锈钢仍可进行表面防腐处理,以及不同形式的局部处理。如果耐腐蚀程度要求较高,则必须提供针对特殊应用的合适单元。
L标准导轨长度:L = 79 mm,m S = 92 gL = 119 mm,m S = 138 gL = 159 mm,m S = 185 gL = 199 mm,m S = 234 gL = 239 mm,m S = 280 gL = 359 mm,m S = 422 g通过协商,也提供特殊长度。
Lk126,9 mm保持架的长度。通过协商,也提供特殊长度。
Lmax360 mm导轨的最大生产长度。通过协商,也提供特殊长度。
mW83 g滑块的质量
mS导轨的质量:L = 79 mm,m S = 92 gL = 119 mm,m S = 138 gL = 159 mm,m S = 185 gL = 199 mm,m S = 234 gL = 239 mm,m S = 280 gL = 359 mm,m S = 422 g通过协商,也提供特殊长度。
C16500 N基本额定载荷
C042000 N基本额定载荷
M0x357 Nm额定扭矩
M0y882 Nm额定扭矩
M0z882 Nm额定扭矩
注意:不锈钢仍可进行表面防腐处理,以及不同形式的局部处理。如果耐腐蚀程度较高,必须提供针对特殊应用的合适单元。
圆柱滚子 O 型布置为标准通过协商,X 型布置是可用的

INA RMWE15-RB-159x..-62轴承尺寸图纸

李工:138-8949-5179

刘工:135-0428-8802

地址:辽宁省大连经济技术开发区现代城3栋-13-13号

在线客服系统