轴承专区
Bearings Center
RMWE12-RB-119x..-30轴承-INA RMWE12-RB-119x..-30轴承尺寸、图纸、价格
INA RMWE12-RB-119x..-30轴承
| 产品名称: | RMWE12-RB-119x..-30轴承 | 品牌: | INA |
|---|---|---|---|
| 类型: | INA轴承 > 微型保持架引导系统 | ||
| 描述: | RMWE12-RB-119x..-30轴承是【INA轴承 > 微型保持架引导系统】的型号,主要用在燃汽轮机、高频马达、发电机、前轮、破碎机、机床主轴、电机厂、化纤机械、混凝土机械、码垛机器人等各大领域 | ||
电话/微信:138-8949-5179
INA RMWE12-RB-119x..-30轴承详细信息
RMWE12-RB-119x..-30轴承是【INA轴承 > 微型保持架引导系统】的型号,主要用在燃汽轮机、高频马达、发电机、前轮、破碎机、机床主轴、电机厂、化纤机械、混凝土机械、码垛机器人等各大领域。
INA RMWE12-RB-119x..-30轴承详细参数
| 参数 | 值 | 备注 |
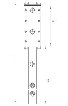
| C1 | 119 mm | |
| hx | 30 mm | 行程 |
| H | 13 mm | |
| 1) | 定位面 | |
| 2) | 标记 | |
| 3) | 行程 | |
| A | 27 mm | |
| A1 | 7,5 mm | |
| A2 | 20 mm | |
| a | 12 mm | 公差: -0,005 / -0,05 |
| a3 | 3,5 mm | |
| C1 max | 200 mm | 滑块的最大生产长度 |
| C2 | 15 mm | |
| C4 | 25 mm | |
| C5 | 12 mm | |
| C6 | 12 mm | |
| C7 | 7 mm | |
| C8 | 5 mm | |
| C9 | 30 mm | |
| H1 | 2,85 mm | |
| H5 | 3,5 mm | |
| h | 9 mm | |
| h1 | 2,8 mm | |
| K1 | M4 mm | 根据 DIN 912-12.9的螺钉:最大锁紧力矩:5 Nm根据 DIN 912-12.9的螺钉,耐腐蚀设计;最大锁紧力矩:1.7 Nm注意:不锈钢仍可进行表面防腐处理,以及不同形式的局部处理。如果耐腐蚀程度要求较高,则必须提供针对特殊应用的合适单元。为与标准单元互换,应使用支撑垫圈和相对较小的螺钉 |
| K2 | M3 mm | 根据 DIN 912-12.9 的螺钉;最大锁紧力矩:2.2 Nm根据 DIN 912-12.9 的螺钉,耐腐蚀设计;最大锁紧力矩:1 Nm注意:不锈钢仍可进行表面防腐处理,以及不同形式的局部处理。如果耐腐蚀程度要求较高,则必须提供针对特殊应用的合适单元。 |
| L | 标准导轨长度:L = 49 mm,m S = 30 gL = 99 mm,m S = 64 gL = 124 mm,m S = 82 gL = 149 mm,m S = 98 gL = 174 mm,m S = 114 gL = 224 mm,m S = 148 gL = 324 mm,m S = 215 g如有需求,也提供特殊设计。 | |
| Lk | 102,9 mm | 保持架的长度。通过协商,也提供特殊长度。 |
| Lmax | 360 mm | 导轨的最大生产长度。通过协商,也提供特殊长度。 |
| mW | 152 g | 滑块的质量 |
| mS | 导轨的质量:L = 49 mm,m S = 30 gL = 99 mm,m S = 64 gL = 124 mm,m S = 82 gL = 149 mm,m S = 98 gL = 174 mm,m S = 114 gL = 224 mm,m S = 148 gL = 324 mm,m S = 215 g通过协商,也提供特殊长度。 | |
| C | 8600 N | 基本额定载荷 |
| C0 | 21200 N | 基本额定载荷 |
| M0x | 142 Nm | 额定扭矩 |
| M0y | 342 Nm | 额定扭矩 |
| M0z | 342 Nm | 额定扭矩 |
| 注意:不锈钢仍可进行表面防腐处理,以及不同形式的局部处理。如果耐腐蚀程度较高,必须提供针对特殊应用的合适单元。 | ||
| 圆柱滚子 O 型布置为标准通过协商,X 型布置是可用的 |
INA RMWE12-RB-119x..-30轴承尺寸图纸

