轴承专区
Bearings Center
ML10050轴承-INA ML10050轴承尺寸、图纸、价格
INA ML10050轴承
| 产品名称: | ML10050轴承 | 品牌: | INA |
|---|---|---|---|
| 类型: | INA轴承 > 平板保持架引导系统 | ||
| 描述: | ML10050轴承是【INA轴承 > 平板保持架引导系统】的型号,主要用在通用电动机、离心分离机、提升机、变速器、各类产业用减速机、石油钻机转环、轧钢机轧制螺杆用减速机、洗染、凿岩机械、太阳能发电设备等各大领域 | ||
电话/微信:138-8949-5179
INA ML10050轴承详细信息
ML10050轴承是【INA轴承 > 平板保持架引导系统】的型号,主要用在通用电动机、离心分离机、提升机、变速器、各类产业用减速机、石油钻机转环、轧钢机轧制螺杆用减速机、洗染、凿岩机械、太阳能发电设备等各大领域。
INA ML10050轴承详细参数
| 参数 | 值 | 备注 |
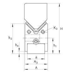
| h2 | 65 mm | 楔形块的高度取决于楔形块的长度,它决定了不同类型的导轨截面高度 H 和 h2 。H 的调整范围:-0.5到+0.3 mm |
| A3 | 50 mm | 公差: -0,2 |
| Lmax | 1000 mm | 端部尺寸 C5 和 C6 取决于导轨长度:C5 和 C6 =L - total C4; L - total C4 >= 2 x C6 min C5 = C6值不能小于 C5 和 C6 的最小值 |
| 4) | 标记 | |
| 41) | 孔的类型15 R | |
| 42) | 孔的类型 15 L | |
| 43) | 孔的类型03 R | |
| 44) | 孔的类型 03 L | |
| A | 50 mm | 公差: -0,1 |
| a | 40 mm | |
| a1 | 37 mm | |
| C4 | 100 mm | 对长度 L < C4 + 2 x C5 minC4 = 50 mm |
| C5 min | 32 mm | C5总是位于可调夹条一侧 |
| C6 min | 20 mm | |
| H | 100 mm | 楔形块的高度取决于楔形块的长度,它决定了不同类型的导轨截面高度 H 和 h2 。H 的调整范围:-0.5到+0.3 mm |
| h1 | 34 mm | |
| h4 | 5 mm | |
| h5 | 25,5 mm | |
| K1 | M12 | 根据 DIN 912- 8.8的螺栓 |
| K3 | M6 | |
| tmin | 30 mm |
INA ML10050轴承尺寸图纸

