轴承专区
Bearings Center
MKUE-25-ZR轴承-INA MKUE-25-ZR轴承尺寸、图纸、价格
INA MKUE-25-ZR轴承
| 产品名称: | MKUE-25-ZR轴承 | 品牌: | INA |
|---|---|---|---|
| 类型: | INA轴承 > 直线执行器 | ||
| 描述: | MKUE-25-ZR轴承是【INA轴承 > 直线执行器】的型号,主要用在电气装置部件、燃料喷射泵、变速器、齿轮减速装置、造纸机械、石油钻机、船舶用螺旋桨轴、医药设备、给料机械、伽玛等各大领域 | ||
电话/微信:138-8949-5179
INA MKUE-25-ZR轴承详细信息
MKUE-25-ZR轴承是【INA轴承 > 直线执行器】的型号,主要用在电气装置部件、燃料喷射泵、变速器、齿轮减速装置、造纸机械、石油钻机、船舶用螺旋桨轴、医药设备、给料机械、伽玛等各大领域。
INA MKUE-25-ZR轴承详细参数
| 参数 | 值 | 备注 |
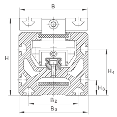
| H | 125 mm | |
| B | 110 mm | |
| L | 250 mm | |
| 滑块有两个定位槽 | ||
| B2 | 80 mm | |
| B3 | 112 mm | |
| D | 115 mm | |
| D1 | 95 mm | 公差:G7 |
| D2 | 76 mm | |
| H1 | 58 mm | 公差: +/-0,5 |
| H2 | 115,7 mm | |
| H3 | 25 mm | |
| H4 | 75 mm | |
| L1 | 263 mm | |
| L3 | 117,5 mm | |
| O | M8 | |
| T | 4 mm | 公差: +0,5 |
| mLaw | 3,8 kg | 滑块的质量 |
| mtot | (Ltot - 230) x 0,0169 + 12 kg | 质量 |
| L2 = 总行程 + L1 + 12L tot = 总行程 + L1 + L2 + 231总行程= 有效行程 + 2 x SS指适合于特殊应用的安全范围,应该至少为85 mm;总行程单位为mm。最大单根支承轨长度 L2 = 8,000 mm | ||
| C | 26300 N | 直线循环球轴承及导轨组件的基本额定载荷注意:此数值只适用于 Lh 寿命的计算。 |
| C0 | 41800 N | 直线循环球轴承及导轨组件的基本额定载荷注意:此数值只适用于 Lh 寿命的计算。 |
| M0x | 500 Nm | 直线导轨系统的许用静扭矩这些数值是单一载荷,当执行器的下部完全被支承时使用。当承受联;合载荷时,这些值必须减小。关于导轨系统的设计标准,见PF1样本。 |
| M0y | 1600 Nm | 直线导轨系统的许用静扭矩这些数值是单一载荷,当执行器的下部完全被支承时使用。当承受联;合载荷时,这些值必须减小。关于导轨系统的设计标准,见PF1样本。 |
| M0z | 1500 Nm | 直线导轨系统的许用静扭矩这些数值是单一载荷,当执行器的下部完全被支承时使用。当承受联;合载荷时,这些值必须减小。关于导轨系统的设计标准,见PF1样本。 |
| ly | 712 cm^4 | 惯性矩 |
| lz | 506 cm^4 | 惯性矩 |
| 50 AT 10 | 齿形带 | |
| 1880 N | 齿形带的许用工作载荷 | |
| 75 Nm | 最大驱动力矩 | |
| 0,315 kg/m | 齿形带的质量 | |
| 250 mm/Umdr | 进给量(mm/转) | |
| 14,7 x 10^-4 kg x m^2 | 两个齿轮的质量惯性矩 |
INA MKUE-25-ZR轴承尺寸图纸

