轴承专区
Bearings Center
HCB7208-E-T-P4S轴承-FAG HCB7208-E-T-P4S轴承尺寸、图纸、价格
FAG HCB7208-E-T-P4S轴承
| 产品名称: | HCB7208-E-T-P4S轴承 | 品牌: | FAG |
|---|---|---|---|
| 类型: | FAG轴承 > 主轴轴承 | ||
| 描述: | HCB7208-E-T-P4S轴承是【FAG轴承 > 主轴轴承】的型号,主要用在铁路车辆、空气压缩机、泵、大型农业机械、铁路车辆车轴、耕耘机、冶炼厂、塑料、平地机、吹氧装置等各大领域 | ||
电话/微信:138-8949-5179
FAG HCB7208-E-T-P4S轴承详细信息
HCB7208-E-T-P4S轴承是【FAG轴承 > 主轴轴承】的型号,主要用在铁路车辆、空气压缩机、泵、大型农业机械、铁路车辆车轴、耕耘机、冶炼厂、塑料、平地机、吹氧装置等各大领域。
FAG HCB7208-E-T-P4S轴承详细参数
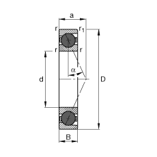
| 参数 | 值 | 备注 |
| d | 40 mm | |
| D | 80 mm | |
| B | 18 mm | |
| a | 23 mm | |
| Da H12 | 72 mm | |
| da h12 | 48 mm | |
| r1 min | 1,1 mm | |
| ra max | 1 mm | |
| ra1 max | 1 mm | |
| rmin | 1,1 mm | |
| m | 0,321 kg | 质量 |
| Cr | 31000 N | 基本额定动载荷,径向 |
| C0r | 14900 N | 基本额定静载荷,径向 |
| nG Fett | 20000 1/min | 脂润滑时的极限转速 |
| nG Öl | 34000 1/min | 最少油润滑时的极限转速 |
| Cur | 1120 N | 疲劳极限载荷,径向 |
FAG HCB7208-E-T-P4S轴承尺寸图纸

