轴承专区
Bearings Center
HCB71915-E-T-P4S轴承-FAG HCB71915-E-T-P4S轴承尺寸、图纸、价格
FAG HCB71915-E-T-P4S轴承
| 产品名称: | HCB71915-E-T-P4S轴承 | 品牌: | FAG |
|---|---|---|---|
| 类型: | FAG轴承 > 主轴轴承 | ||
| 描述: | HCB71915-E-T-P4S轴承是【FAG轴承 > 主轴轴承】的型号,主要用在电气装置部件、小型汽车前轮、提升机、差速器、振动筛、汽车转向销、船舶用螺旋桨轴、制鞋、掘进机、伽玛等各大领域 | ||
电话/微信:138-8949-5179
FAG HCB71915-E-T-P4S轴承详细信息
HCB71915-E-T-P4S轴承是【FAG轴承 > 主轴轴承】的型号,主要用在电气装置部件、小型汽车前轮、提升机、差速器、振动筛、汽车转向销、船舶用螺旋桨轴、制鞋、掘进机、伽玛等各大领域。
FAG HCB71915-E-T-P4S轴承详细参数
| 参数 | 值 | 备注 |
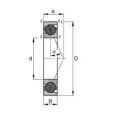
| d | 75 mm | |
| D | 105 mm | |
| B | 16 mm | |
| a | 29 mm | |
| Da H12 | 99,5 mm | |
| da h12 | 81 mm | |
| r1 min | 1 mm | |
| ra max | 0,6 mm | |
| ra1 max | 0,6 mm | |
| rmin | 1 mm | |
| m | 0,296 kg | 质量 |
| Cr | 33000 N | 基本额定动载荷,径向 |
| C0r | 22700 N | 基本额定静载荷,径向 |
| f0 | 11,5 | |
| nG Fett | 13000 1/min | 脂润滑时的极限转速 |
| nG Öl | 20000 1/min | 最少油润滑时的极限转速 |
| Cur | 1670 N | 疲劳极限载荷,径向 |
FAG HCB71915-E-T-P4S轴承尺寸图纸

