轴承专区
Bearings Center
HCB71903-E-T-P4S轴承-FAG HCB71903-E-T-P4S轴承尺寸、图纸、价格
FAG HCB71903-E-T-P4S轴承
| 产品名称: | HCB71903-E-T-P4S轴承 | 品牌: | FAG |
|---|---|---|---|
| 类型: | FAG轴承 > 主轴轴承 | ||
| 描述: | HCB71903-E-T-P4S轴承是【FAG轴承 > 主轴轴承】的型号,主要用在农业机械、小型汽车前轮、纺织机械传动轴、差速器、木工机械、汽车转向销、钢铁厂、饮料设备、掘进机、机场加油机等各大领域 | ||
电话/微信:138-8949-5179
FAG HCB71903-E-T-P4S轴承详细信息
HCB71903-E-T-P4S轴承是【FAG轴承 > 主轴轴承】的型号,主要用在农业机械、小型汽车前轮、纺织机械传动轴、差速器、木工机械、汽车转向销、钢铁厂、饮料设备、掘进机、机场加油机等各大领域。
FAG HCB71903-E-T-P4S轴承详细参数
| 参数 | 值 | 备注 |
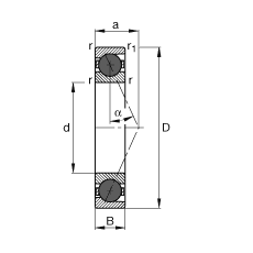
| d | 17 mm | |
| D | 30 mm | |
| B | 7 mm | |
| a | 9 mm | |
| Da H12 | 27,5 mm | |
| da h12 | 20 mm | |
| r1 min | 0,3 mm | |
| ra max | 0,3 mm | |
| ra1 max | 0,3 mm | |
| rmin | 0,3 mm | |
| m | 0,015 kg | 质量 |
| Cr | 5100 N | 基本额定动载荷,径向 |
| C0r | 2100 N | 基本额定静载荷,径向 |
| f0 | 10,5 | |
| nG Fett | 50000 1/min | 脂润滑时的极限转速 |
| nG Öl | 75000 1/min | 最少油润滑时的极限转速 |
| Cur | 155 N | 疲劳极限载荷,径向 |
FAG HCB71903-E-T-P4S轴承尺寸图纸

