轴承专区
Bearings Center
HCB71901-C-2RSD-T-P4S轴承-FAG HCB71901-C-2RSD-T-P4S轴承尺寸、图纸、价格
FAG HCB71901-C-2RSD-T-P4S轴承
| 产品名称: | HCB71901-C-2RSD-T-P4S轴承 | 品牌: | FAG |
|---|---|---|---|
| 类型: | FAG轴承 > 主轴轴承 | ||
| 描述: | HCB71901-C-2RSD-T-P4S轴承是【FAG轴承 > 主轴轴承】的型号,主要用在燃汽轮机、差速器小齿轮轴、发电机、小齿轮轴、印刷机械、机床等的变速装置、电机厂、化纤机械、工程船舶、数控设备等各大领域 | ||
电话/微信:138-8949-5179
FAG HCB71901-C-2RSD-T-P4S轴承详细信息
HCB71901-C-2RSD-T-P4S轴承是【FAG轴承 > 主轴轴承】的型号,主要用在燃汽轮机、差速器小齿轮轴、发电机、小齿轮轴、印刷机械、机床等的变速装置、电机厂、化纤机械、工程船舶、数控设备等各大领域。
FAG HCB71901-C-2RSD-T-P4S轴承详细参数
| 参数 | 值 | 备注 |
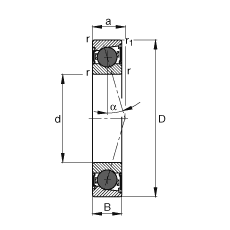
| d | 12 mm | |
| D | 24 mm | |
| B | 6 mm | |
| a | 5 mm | |
| Da H12 | 21,5 mm | |
| da h12 | 15 mm | |
| r1 min | 0,3 mm | |
| ra max | 0,3 mm | |
| ra1 max | 0,3 mm | |
| rmin | 0,3 mm | |
| m | 0,011 kg | 质量 |
| Cr | 3400 N | 基本额定动载荷,径向 |
| C0r | 1290 N | 基本额定静载荷,径向 |
| nG Fett | 80000 1/min | 脂润滑时的极限转速 |
| Cur | 95 N | 疲劳极限载荷,径向 |
FAG HCB71901-C-2RSD-T-P4S轴承尺寸图纸

