轴承专区
Bearings Center
HCB7024-E-T-P4S轴承-FAG HCB7024-E-T-P4S轴承尺寸、图纸、价格
FAG HCB7024-E-T-P4S轴承
| 产品名称: | HCB7024-E-T-P4S轴承 | 品牌: | FAG |
|---|---|---|---|
| 类型: | FAG轴承 > 主轴轴承 | ||
| 描述: | HCB7024-E-T-P4S轴承是【FAG轴承 > 主轴轴承】的型号,主要用在后轮、小型汽车前轮、发电机、差速器、轧钢机辊道子、汽车转向销、水力发电机、电子、土方机械、泥炮等各大领域 | ||
电话/微信:138-8949-5179
FAG HCB7024-E-T-P4S轴承详细信息
HCB7024-E-T-P4S轴承是【FAG轴承 > 主轴轴承】的型号,主要用在后轮、小型汽车前轮、发电机、差速器、轧钢机辊道子、汽车转向销、水力发电机、电子、土方机械、泥炮等各大领域。
FAG HCB7024-E-T-P4S轴承详细参数
| 参数 | 值 | 备注 |
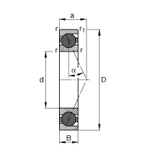
| d | 120 mm | |
| D | 180 mm | |
| B | 28 mm | |
| a | 49 mm | |
| Da H12 | 169 mm | |
| da h12 | 131 mm | |
| r1 min | 2 mm | |
| ra max | 2 mm | |
| ra1 max | 1 mm | |
| rmin | 2 mm | |
| m | 1,73 kg | 质量 |
| Cr | 109000 N | 基本额定动载荷,径向 |
| C0r | 77000 N | 基本额定静载荷,径向 |
| nG Fett | 7500 1/min | 脂润滑时的极限转速 |
| nG Öl | 12000 1/min | 最少油润滑时的极限转速 |
| Cur | 4650 N | 疲劳极限载荷,径向 |
FAG HCB7024-E-T-P4S轴承尺寸图纸

