轴承专区
Bearings Center
7603080-TVP轴承-FAG 7603080-TVP轴承尺寸、图纸、价格
FAG 7603080-TVP轴承
| 产品名称: | 7603080-TVP轴承 | 品牌: | FAG |
|---|---|---|---|
| 类型: | FAG轴承 > 推力角接触球轴承 | ||
| 描述: | 7603080-TVP轴承是【FAG轴承 > 推力角接触球轴承】的型号,主要用在铁路车辆、燃料喷射泵、提升机、齿轮减速装置、木工机械、起重机吊钩、冶炼厂、医药设备、强夯机、正面吊等各大领域 | ||
电话/微信:138-8949-5179
FAG 7603080-TVP轴承详细信息
7603080-TVP轴承是【FAG轴承 > 推力角接触球轴承】的型号,主要用在铁路车辆、燃料喷射泵、提升机、齿轮减速装置、木工机械、起重机吊钩、冶炼厂、医药设备、强夯机、正面吊等各大领域。
FAG 7603080-TVP轴承详细参数
| 参数 | 值 | 备注 |
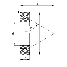
| d | 80 mm | |
| D | 170 mm | |
| B | 39 mm | |
| a | 130 mm | |
| Da H12 | 143 mm | |
| da h12 | 111 mm | |
| ra max | 2,1 mm | |
| rmin | 2,1 mm | |
| m | 4,5 kg | 质量 |
| Ca | 144000 N | 基本额定动载荷,轴向 |
| C0a | 465000 N | 基本额定静载荷,轴向 |
| Fa max | 132000 N | 最大轴向力,动态 |
| nG Fett | 1400 1/min | 脂润滑时的极限转速 |
| nG Öl | 1900 1/min | 最少油润滑时的极限转速 |
| Fv | 16000 N | 预载 |
| Mr | 1100 Nmm | 摩擦力矩 |
| Cua | 37000 N | 疲劳极限载荷,轴向 |
FAG 7603080-TVP轴承尺寸图纸

