李工:138-8949-5179 刘工:135-0428-8802
型号查询
轴承型号   常见搜索: 6900轴承 6020轴承 7014轴承 6032轴承 6305轴承 6030轴承
型号查询 X

轴承专区

Bearings Center

7602085-TVP轴承-FAG 7602085-TVP轴承尺寸、图纸、价格

FAG 7602085-TVP轴承

产品名称:7602085-TVP轴承 品牌:FAG
类型:FAG轴承 > 推力角接触球轴承
描述: 7602085-TVP轴承是【FAG轴承 > 推力角接触球轴承】的型号,主要用在内燃机、油泵、变速器、机床主轴、铁路车辆车轴、起重机吊钩、挤压机、破碎、强夯机、抓钢机等各大领域

 电话/微信:138-8949-5179

FAG 7602085-TVP轴承详细信息

7602085-TVP轴承是【FAG轴承 > 推力角接触球轴承】的型号,主要用在内燃机、油泵、变速器、机床主轴、铁路车辆车轴、起重机吊钩、挤压机、破碎、强夯机、抓钢机等各大领域。

FAG 7602085-TVP轴承详细参数

参数备注
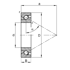
d85 mm
D150 mm
B28 mm
a117 mm
Da H12131 mm
da h12107 mm
ra max2 mm
rmin2 mm
m2,17 kg质量
Ca95000 N基本额定动载荷,轴向
C0a340000 N基本额定静载荷,轴向
Fa max85000 N最大轴向力,动态
nG Fett1400 1/min脂润滑时的极限转速
nG Öl1900 1/min最少油润滑时的极限转速
Fv11000 N预载
Mr760 Nmm摩擦力矩
Cua28000 N疲劳极限载荷,轴向

FAG 7602085-TVP轴承尺寸图纸

李工:138-8949-5179

刘工:135-0428-8802

地址:辽宁省大连经济技术开发区现代城3栋-13-13号

在线客服系统