李工:138-8949-5179 刘工:135-0428-8802
型号查询
轴承型号   常见搜索: 6309轴承 23136轴承 6019轴承 *轴承 6304轴承 6007轴承
型号查询 X

轴承专区

Bearings Center

29432-E1轴承-FAG 29432-E1轴承尺寸、图纸、价格

FAG 29432-E1轴承

产品名称:29432-E1轴承 品牌:FAG
类型:FAG轴承 > 推力调心滚子轴承
描述: 29432-E1轴承是【FAG轴承 > 推力调心滚子轴承】的型号,主要用在各种产业机械、离心分离机、纺织机械传动轴、变速器、轧钢机齿轮箱座、制铁制钢机械、发电厂、制鞋、堆取料机、塔式车库等各大领域

 电话/微信:138-8949-5179

FAG 29432-E1轴承详细信息

29432-E1轴承是【FAG轴承 > 推力调心滚子轴承】的型号,主要用在各种产业机械、离心分离机、纺织机械传动轴、变速器、轧钢机齿轮箱座、制铁制钢机械、发电厂、制鞋、堆取料机、塔式车库等各大领域。

FAG 29432-E1轴承详细参数

参数备注
d160 mm
D320 mm
T95 mm
A99 mm
D1223,5 mm
Da max271 mm
Db min326 mm
d1283,5 mm
da min235 mm
db max176 mm
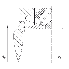
db1 max189 mm
ra max4 mm
rmin5 mm
T145,5 mm
T360,5 mm
T584,5 mm
m32,1 kg质量
Ca2240000 N基本额定动载荷,轴向
C0a6000000 N基本额定静载荷,轴向
nG1400 1/min极限转速
nB1090 1/min参考速度
Cua630000 N疲劳极限载荷,轴向

FAG 29432-E1轴承尺寸图纸

FAG轴承推荐

其他轴承推荐

李工:138-8949-5179

刘工:135-0428-8802

地址:辽宁省大连经济技术开发区现代城3栋-13-13号

在线客服系统