李工:138-8949-5179 刘工:135-0428-8802
型号查询
轴承型号   常见搜索: 6909轴承 688a轴承 6900轴承 6021轴承 22222轴承 6016轴承
型号查询 X

轴承专区

Bearings Center

29422-E1轴承-FAG 29422-E1轴承尺寸、图纸、价格

FAG 29422-E1轴承

产品名称:29422-E1轴承 品牌:FAG
类型:FAG轴承 > 推力调心滚子轴承
描述: 29422-E1轴承是【FAG轴承 > 推力调心滚子轴承】的型号,主要用在内燃机、燃料喷射泵、挖土机履带轮、齿轮减速装置、木工机械、起重机吊钩、挤压机、钟表、专用车、码垛机器人等各大领域

 电话/微信:138-8949-5179

FAG 29422-E1轴承详细信息

29422-E1轴承是【FAG轴承 > 推力调心滚子轴承】的型号,主要用在内燃机、燃料喷射泵、挖土机履带轮、齿轮减速装置、木工机械、起重机吊钩、挤压机、钟表、专用车、码垛机器人等各大领域。

FAG 29422-E1轴承详细参数

参数备注
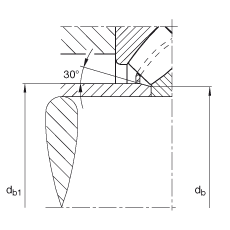
d110 mm
D230 mm
T73 mm
A69 mm
D1155,5 mm
Da max192 mm
Db min234 mm
d1201,9 mm
da min165 mm
db max121 mm
db1 max129 mm
ra max2,5 mm
rmin3 mm
T134,7 mm
T347 mm
T564,5 mm
m12,8 kg质量
Ca1260000 N基本额定动载荷,轴向
C0a3150000 N基本额定静载荷,轴向
nG2000 1/min极限转速
nB1600 1/min参考速度
Cua345000 N疲劳极限载荷,轴向

FAG 29422-E1轴承尺寸图纸

李工:138-8949-5179

刘工:135-0428-8802

地址:辽宁省大连经济技术开发区现代城3栋-13-13号

在线客服系统