李工:138-8949-5179 刘工:135-0428-8802
型号查询
轴承型号   常见搜索: 22222轴承 6018轴承 6906轴承 6309轴承 6020轴承 6013轴承
型号查询 X

轴承专区

Bearings Center

29340-E1轴承-FAG 29340-E1轴承尺寸、图纸、价格

FAG 29340-E1轴承

产品名称:29340-E1轴承 品牌:FAG
类型:FAG轴承 > 推力调心滚子轴承
描述: 29340-E1轴承是【FAG轴承 > 推力调心滚子轴承】的型号,主要用在各种产业机械、高频马达、木工机械、前轮、各类产业用减速机、机床等的变速装置、发电厂、饮料设备、压路机、冶金起重机等各大领域

 电话/微信:138-8949-5179

FAG 29340-E1轴承详细信息

29340-E1轴承是【FAG轴承 > 推力调心滚子轴承】的型号,主要用在各种产业机械、高频马达、木工机械、前轮、各类产业用减速机、机床等的变速装置、发电厂、饮料设备、压路机、冶金起重机等各大领域。

FAG 29340-E1轴承详细参数

参数备注
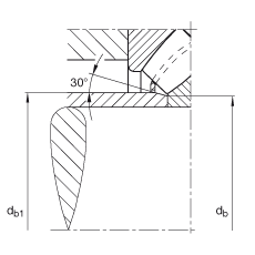
d200 mm
D340 mm
T85 mm
A116 mm
D1257 mm
Da max298 mm
Db min348 mm
d1308,8 mm
da min265 mm
db max213 mm
db1 max224 mm
ra max3 mm
rmin4 mm
T140 mm
T353,5 mm
T575,5 mm
m27,3 kg质量
Ca1900000 N基本额定动载荷,轴向
C0a5600000 N基本额定静载荷,轴向
nG1400 1/min极限转速
nB1030 1/min参考速度
Cua640000 N疲劳极限载荷,轴向

FAG 29340-E1轴承尺寸图纸

李工:138-8949-5179

刘工:135-0428-8802

地址:辽宁省大连经济技术开发区现代城3栋-13-13号

在线客服系统