轴承专区
Bearings Center
NF 19/750 ECMB/HA1轴承-SKF NF 19/750 ECMB/HA1轴承尺寸、图纸、价格
SKF NF 19/750 ECMB/HA1轴承
| 产品名称: | NF 19/750 ECMB/HA1轴承 | 品牌: | SKF |
|---|---|---|---|
| 类型: | SKF轴承 > 滚动轴承 > 圆柱滚子轴承 | ||
| 描述: | NF 19/750 ECMB/HA1轴承是【SKF轴承 > 滚动轴承 > 圆柱滚子轴承】的型号,主要用在装卸搬运机械、罗茨鼓风机、桥式起重机、建筑机械、减速装置、石油钻机转环、矿山、洗染、轻工机械、伽玛等各大领域 | ||
电话/微信:138-8949-5179
SKF NF 19/750 ECMB/HA1轴承详细信息
NF 19/750 ECMB/HA1轴承是【SKF轴承 > 滚动轴承 > 圆柱滚子轴承】的型号,主要用在装卸搬运机械、罗茨鼓风机、桥式起重机、建筑机械、减速装置、石油钻机转环、矿山、洗染、轻工机械、伽玛等各大领域。
SKF NF 19/750 ECMB/HA1轴承详细参数
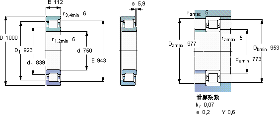
| 圆柱滚子轴承, 单列, NF 设计 | ||||||||||||
| 主要数据尺寸 | 基本负荷额定值 | 疲劳负荷限值 | 额定速度 | 体积 | 型号 | 适宜的斜挡圈 | ||||||
| 动态 | 静态 | 参照速度 | 限制速度 | 型号 | ||||||||
| d | D | B | C | C0 | Pu | |||||||
| mm | kN | kN | r/min | kg | - | - | ||||||
| 750 | 1000 | 112 | 2810 | 5850 | 390 | 560 | 700 | 265 | NF 19/750 ECMB/HA1 | - | ||
SKF NF 19/750 ECMB/HA1轴承尺寸图纸

